SECTION NINE
ADDITIONAL INFORMATION
AUDIO INPUT ATTENUATION ADDED TO THE 304TL MODULATOR
I may have gone a bit overboard with the overall gain of the 304TL modulator’s driver stages as just barely cracking the AUDIO GAIN control would drill the 304TL’s to full output. In an effort to reduce the gain, an attenuator consisting of four 300 ohm and a 12 ohm attenuator resistor was placed ahead of the microphone balance-to-unbalance transformer. The circuit is a 600 ohm input to 600 ohm output balanced design which provides about 40 db or so of attenuation. The resistors were soldered directly to the microphone transformer’s tube socket in an effort to keep the leads as short as possible. The schematic below shows the mod. The same circuit was used on the LINE IN microphone transformer tube socket.

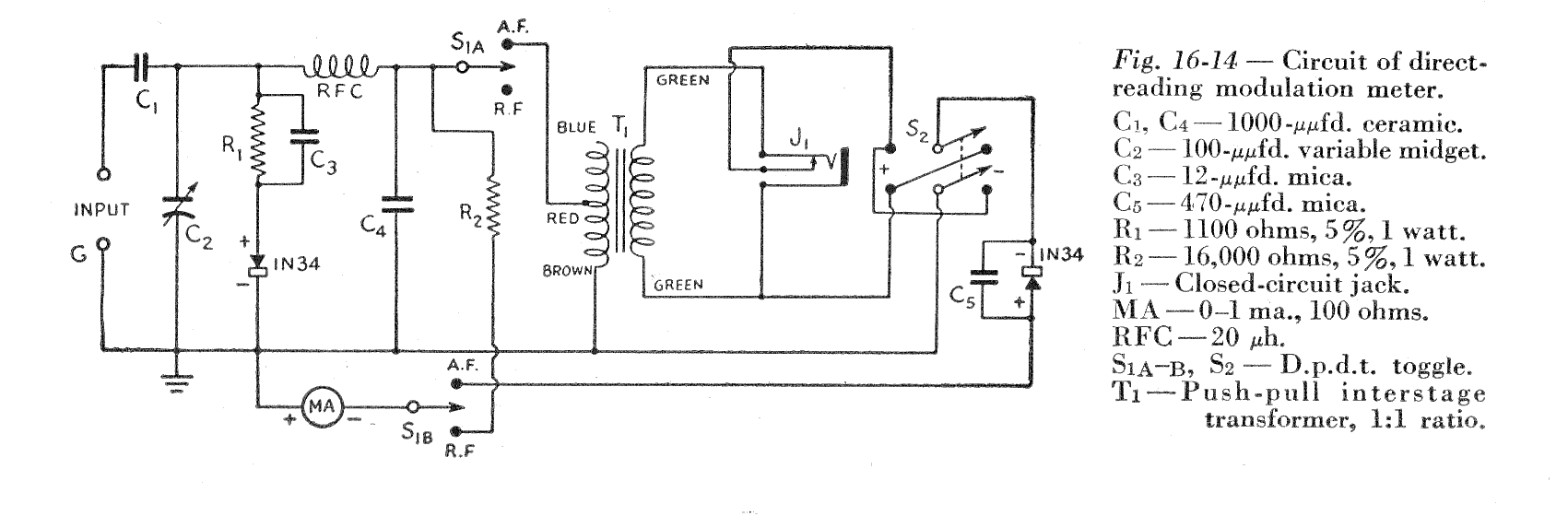
MODULATION MONITOR
A modulation monitor meter was added to the upper right corner of the RF deck. Details for this meter can be found in the 1950 ARRL Handbook, Page 476. The meter was built in a fully enclosed 4 x 4 aluminum case and has a BNC connector on the back side for connecting the RF pick-up probe located in proximity to L1a. For courtesy I’ve included a copy of the schematic below.

DIGITAL METERS
Although not “Era Correct”, the two digital meters on the front panel provide these important features:
LINE INPUT VOLTAGE. Measures AC line voltage. Self powered. Proper line voltage is 240VAC plus/minus 2.5%.
TEMPERATURE METER. Measures the ambient air temperature just above the RF deck. Provides indication that the cooling fan is in working order. Operates on 5VDC from a filament winding source on the RF GRID bias transformer. After a long QSO the temperature will reach 117F with an ambient of about 90F.
I purchased these meters on ebay directly from China for about $6 to$7 a piece, including shipping. The voltmeter needed to be taken apart and the internal calibration trim pot adjusted. I bought several “spares” and all read a little low. I think they may have been calibrated for 50 Hertz and the American Standard is 60 Hertz. Once calibrated, they’re spot on.